Why choose ELF series automatic coffee machine?
Compactness


Durability

Full-Metal Patented Brewing Unit: Built for Durability
- Patented All-Metal Brew Group: Crafted from high-grade metal (no fragile plastics here), it’s built to resist wear, corrosion, and the stress of nonstop daily brewing. Whether you’re pulling 50 or 500 shots a day, this brewing unit stays tough—no weak points, no unexpected breakdowns.
- Industry-Leading BLDC Motor: We paired it with a top-brand BLDC motor: engineered with precision bearings and heat-resistant parts, it runs cooler, avoids overheating, and maintains consistent power across thousands of cycles. Even during morning rushes or long shifts, it keeps up—no lag, no early failure.
Full Stainless Steel Bracket, Fireproof Metal Housing: Built for Durability
- Full Metal Bracket: Crafted from high-grade metal, it resists rust and corrosion—even with daily coffee spills and moisture. Sturdy enough to handle grinder vibrations and component weight, it stays stable long-term, while its smooth, non-porous surface is easy to clean and hygienic.
- Fireproof Metal Housing: Made from flame-retardant alloy that meets industry safety standards, it shields against high temperatures and potential fire risks (like hot surfaces or electrical issues). It also absorbs impacts, protecting internal parts from accidental bumps—keeping your machine, staff, and customers safe.


Mature Screw-Nut Drive System: Built for Durability
The screw-nut drive’s durability comes from three core strengths:
- Uniform Force Distribution: Surface-contact design spreads stress evenly across helical teeth, avoiding concentrated wear common in gear or belt drives.
- High Structural Rigidity: Crafted from high-strength metals, the helical structure resists deformation under impact or load changes, maintaining stable performance.
- Protected Operation: Easily sealed and lubricated to block debris and reduce friction, preventing abrasive damage and extending lifespan.
DITING Professional Coffee Grinder: Built for Durability
- Full-Metal Grinding Assembly: Crafted entirely from metal, it resists wear, deformation, and breakage even after frequent grinding, eliminating the risk of fragile plastic parts failing.
- AC Induction Motor: A robust workhorse designed for longevity. It operates stably without overheating or sudden malfunctions, ensuring zero unexpected breakdowns of this critical component.
With these key parts built to “not fail,” the coffee machine delivers uncompromised durability—saving you maintenance costs and keeping your business running smoothly.

Ease of use
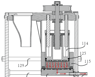
Make a good cup of coffee: With 58mm portafilter, patented top-down spray water distribution, and BLDC motor + screw structure for precise tamping force, plus brew group preheating and 1.2L boiler (for steady temp during continuous use), we guarantee every cup delivers optimal taste.
Ease of Use: Easy to maintain

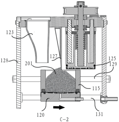
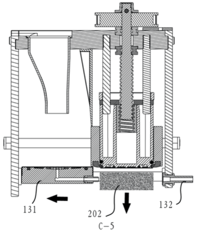
Self-cleaning scraper

Grounds automatic dropping
The coffee brewer needs no disassembly for cleaning, thanks to two automatic features:
- Automatic powder scraping: Wipes away all leftover powder, leaving no residue.
- Post-brew grounds drop: Used coffee grounds fall off automatically after brewing.

- Water and electricity separation design
- Modular design
- Easy-to-disassemble housing design
Removing the covers of different parts allows for problem identification and quick accessory replacement, reducing maintenance time.
Technical details
| Model | ELF-01 | ELF-02 |
|---|---|---|
| Advised daily output | 500 cups | 500 cups |
| Hourly output | 160 cups | 180 cups |
| Dimension (W*H*D) | 310*520*535mm | 430*520*535mm |
| Net weight | 30.5kg | 36.5kg |
| Power | 3000w | 3000w |
| Voltage | 220-240V/50-60Hz | 220-240V/50-60Hz |
| Display | 8 inch 16:10 IPS full viewing angle screen | 8 inch 16:10 IPS full viewing angle screen |
| Bean hopper capacity | 1.2kg | 1.2kg*2 |
| Boiler capacity | 1.2L for water | 1.2L for water, 1.2L for steam |
| Water inlet | 6mm quick plug for bottled water or tap water | 6mm quick plug for bottled water or tap water |
| Grinder | DITING commercial grinder | DITING commercial grinder |
| Water pump | BLDC magnetic drive extraction pump | BLDC magnetic drive extraction pump |
| Brewer capacity | 30g | 30g |
| Grounds container capacity | Automatic grounds dropping/50pcs coffee grounds tray | Automatic grounds dropping/50pcs coffee grounds tray |
Get FREE QUOTE Today!
We’d love to hear from you! Send us a message using the form opposite, or email us. We’d love to hear from you!







